• <td id="46i6g"><rt id="46i6g"></rt></td>
    <td id="46i6g"><kbd id="46i6g"></kbd></td>
  • <xmp id="46i6g"><option id="46i6g"></option><option id="46i6g"><option id="46i6g"></option></option>
  • <td id="46i6g"></td>
    發布時間:2023-01-03 15:37 原文鏈接: 光電自準直儀的結構組成

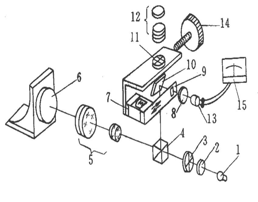
    如果狹縫振動中心與十字線像重合,則指示電表15的指針指零,這就是瞄準位置;如果狹縫中心偏離了十字線像,則指示電表的指針就離開零位。當電表指針歸零時,刻度分劃板的刻線和十字線像了正好處于對準的位置。這就是起到了精確瞄準的作用。

    光電自準直儀光電自準直儀

    1-光源;2-聚光鏡;3-分劃板;4-立方直角棱鏡;5-物鏡;6-反射鏡;7-振子;8-聚光鏡;9-狹縫;10-分光鏡;11-刻度分劃板;12-目鏡;13-光電元件;14-測微鼓輪;15-指示電表


  • <td id="46i6g"><rt id="46i6g"></rt></td>
    <td id="46i6g"><kbd id="46i6g"></kbd></td>
  • <xmp id="46i6g"><option id="46i6g"></option><option id="46i6g"><option id="46i6g"></option></option>
  • <td id="46i6g"></td>
    亚洲日本va中文字幕久久道具